7月22日,哈药股份(600664)发布公告称,公司控股股东哈药集团持有公司股份11.73亿股,占本公司总股本的46.58%;本次质押完成后,哈药集团累计质押股份9.27亿股,占其所持有公司股份总数的79.00%,占公司总股本的36.80%。
来源|读创财经
编辑|付名妤 责编|宁可坚
公告显示,哈药集团未来半年内将到期的质押股份数为8.37亿股,占其所持有股份比例71.31%,占公司总股本比例33.22%,对应融资余额1.85亿美元;不存在未来一年内将到期(不含半年内到期质押股份)的质押股份。
哈药集团本次股份质押所融资金主要用于自身生产经营,截至本公告披露日,哈药集团的资信情况、财务状况良好,具备相应的资金偿还能力,预计还款资金来源于自有及自筹资金,质押风险在可控范围之内。
哈药股份表示,本次质押事项不会对公司治理产生影响,公司的董事会成员不会因此产生变动,控股股东与公司在产权、业务、资产、人员等方面相互独立,不会导致公司实际控制权的变更,不会对公司日常管理产生影响。本次质押事项不涉及重大资产重组等业绩补偿义务。
公开资料显示,哈药集团股份有限公司于1993年6月29日上市,公司的主营业务是医药研发与制造、批发与零售业务。公司的主要产品是复方葡萄糖酸钙口服溶液、葡萄糖酸锌口服溶液、哈药牌钙铁锌口服液等。
今年3月,有媒体报道,记者调查发现,市场热卖的鸡内金产品,实际上只是压片糖果或凝胶糖果,并且其中不乏知名药企的产品。其中一款山楂鸡内金益生菌咀嚼片指向了上市公司哈药股份。
面对“鸡内金糖果”是否能治疗儿童厌食挑食等问题,3月13日,哈药股份回应媒体采访称,山楂鸡内金益生菌咀嚼片属于普通食品,不是保健食品;该商品介绍中提及的“不爱吃饭”“挑食厌食”等描述仅为产品原料的科普内容,不代表产品实际功效,请消费者理性阅读,不作为产品功效描述,商品介绍中已写明“以下仅为科普 ,请理性阅读”。
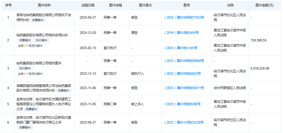
据天眼查App,司法案件信息显示,该公司曾多次因买卖合同纠纷被起诉。
二级市场上,截至7月22日收盘,哈药股份上涨0.50%报4.02元/股,最新市值101.24亿元,公司股价近一年来累计上涨两成。
文章为作者独立观点,不代表配资行业排名_期货配资配资_配资门户平台观点